✨Cờ lê, mỏ lết, búa các loại
Cờ lê, mỏ lết, búa các loại
- Bộ Vòng Miệng Tự Động 7 Món Tolsen 15229 - Bạc là dụng cụ chuyên dụng cần thiết trong nhiều ngành nghề. - Được làm từ chất liệu kim loại rắn chắc, chống gỉ
Búa Gò Cán Gỗ Tolsen 25125 (43cm) với phần đầu búa làm bằng thép hợp kim cao cấp nên sở hữu độ rắn chắc tuyệt đối, chịu nhiệt tốt và có khả năng chống chịu
- Búa Sừng Dê Cán Nhựa Tolsen 25158 25mm Thiết kế 2 đầu tiện lợi, sử dụng hiệu quả - Búa sừng dê cán nhựa Tolsen được thiết kế 2 đầu: 1 đầu tròn để
Đầu búa cấu tạo từ chất liệu cao su bền bỉ Búa cao su cao cấp Tolsen 25040 với phần đầu búa hình trụ tròn được làm từ cao su chịu lực tốt, có khả
Là một sản phẩm mới của Stanley có kích cỡ 9mm, có tính ứng dụng cao trong vô sô ngàng nghề hàng ngày. Được xem là món đồ nghề không thể thiếu của nhiều gia
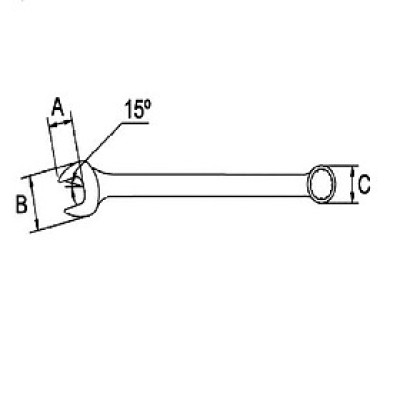
Model cờ lê vòng miệng này mới được Stanley giới thiệu, được làm từ chất liệu thép cao cấp không bị rỉ sét và mài mòn theo thời gian. Cờ lê này sở hữu quy
Đặc điểm của mỏ lết 8''/200mm Stanley STMT87432-8 Đây là dòng mỏ lết làm bằng thép mạ chrome sáng bóng và phủ photpho chống gỉ ăn mòn, đo được cả hệ mét và hệ inch
DELI TOOLS OFFICIAL STORE ĐẶC TÍNH SẢN PHẨM: - Búa đóng, nhổ đinh thương hiệu Deli có màu đen-vàng, được thiết kế đầu búa tròn và đầu nhổ đinh uốn cong - sử dụng
TOLSEN là một thương hiệu nổi tiếng ở Châu Âu, các sản phẩm của TOLSEN được sử dụng rộng rãi tại các nước trên thế giới bao gồm cả Bắc Mỹ, Châu Mỹ La Tinh,
Ingco là thương hiệu lớn chuyên sản xuất mặt hàng công cụ dụng cụ dành cho thợ xây dựng, thợ cơ khí. Trong đó mặt hàng máy khoan Ingco là dòng sản phẩm rất được
TOLSEN là một thương hiệu nổi tiếng ở Châu Âu, các sản phẩm của TOLSEN được sử dụng rộng rãi tại các nước trên thế giới bao gồm cả Bắc Mỹ, Châu Mỹ La Tinh,
TOLSEN là một thương hiệu nổi tiếng ở Châu Âu, các sản phẩm của TOLSEN được sử dụng rộng rãi tại các nước trên thế giới bao gồm cả Bắc Mỹ, Châu Mỹ La Tinh,
Búa phá kính thoát hiểm dùng cho ô tô, xe hơi, xe khách Đầu búa tròn bằng và tròn nhọn để phá cửa kính xe. Cần có trên xe ô tô để đảm bảo an
- Chìa Khóa Vòng Miệng Tolsen 15016 (8mm) được làm từ chất liệu thép Chrome Vanadium sáng bóng với độ bền cao cùng khả năng chống gỉ sét tốt, không bị oxy hóa hay mài
- Thương hiệu: INGCO - Chịu nhiệt, thép carbon 45#, - Đầu búa nặng: 900 g
Búa Tạ Đầu Vuông Cán Gỗ 1500Gr Tolsen 25132 - Làm bằng chất liệu thép carbon rèn cao cấp, tiêu chuẩn DIN-6475 - Tay cầm bằng gỗ vừa vặn và chắc chắn, đầu búa vuông
- Bộ Chìa Khóa Vòng - Miệng Tolsen 15159 (8 Món) - Đen là dụng cụ chuyên dụng cần thiết trong nhiều ngành nghề. - Cấu tạo bằng chất liệu thép mạ chrome bền bỉ.
- Bộ Chìa Khóa Miệng - Miệng Tolsen 15165 (12 Món) - Đen là dụng cụ chuyên dụng cần thiết trong nhiều ngành nghề. - Cấu tạo bằng chất liệu thép mạ chrome bền bỉ.
- Bộ Mỏ Lết Tăng Đưa Tolsen 15282 (9 - 32mm) - Bạc là dụng cụ chuyên dụng cần thiết trong nhiều ngành nghề. - Được làm từ chất liệu thép Chrome Vanadium sáng bóng
Búa Nguyên Khối 1 Sừng Tolsen 25172 (43cm) được thiết kế 2 đầu: 1 đầu tròn để đóng đinh và một đầu sừng dê dùng để nhổ, tán đinh. Lưỡi búa được thiết kế cải
Khóa Vòng Miệng Tự Động Tolsen 15205 làm từ chất liệu thép không gỉ, có độ bền cao, không bị oxy hóa hay mài mòn dù phải tiếp xúc thường xuyên với điều kiện ẩm ướt
Khóa Vòng Miệng Tự Động Tolsen 15207 làm từ chất liệu thép không gỉ, có độ bền cao, không bị oxy hóa hay mài mòn dù phải tiếp xúc thường xuyên với điều kiện ẩm ướt
Khóa Vòng Miệng Tự Động Tolsen 15210 làm từ chất liệu thép không gỉ, có độ bền cao, không bị oxy hóa hay mài mòn dù phải tiếp xúc thường xuyên với điều kiện ẩm ướt
- X được thiBúa Sừng Dê Cán Nhựa Đầu Đen Tolsen 25190t kế 2 đầu: 1 đầu tròn để đóng đinh và một đầu sừng dê dùng để nhổ, tán đinh. Lưỡi búa được thiết
6mm Cờ lê vòng miệng tự động INGCO HCSPAR061 Cờ lê vòng miệng INGCO HCSPAR061 là dụng cụ không thể thiếu đối với những người thợ, với kích thước nhỏ chỉ 6mm giúp
14mm Cờ lê vòng miệng tự động INGCO HCSPAR141 Cờ lê vòng miệng INGCO HCSPAR141 là dụng cụ không thể thiếu đối với những người thợ, với kích thước nhỏ chỉ 14mm giúp bạn
19mm Cờ lê vòng miệng tự động INGCO HCSPAR191 Cờ lê vòng miệng INGCO HCSPAR191 là dụng cụ không thể thiếu đối với những người thợ, với kích thước nhỏ chỉ 19mm giúp bạn
TOLSEN là một thương hiệu nổi tiếng ở Châu Âu, các sản phẩm của TOLSEN được sử dụng rộng rãi tại các nước trên thế giới bao gồm cả Bắc Mỹ, Châu Mỹ La Tinh,
TOLSEN là một thương hiệu nổi tiếng ở Châu Âu, các sản phẩm của TOLSEN được sử dụng rộng rãi tại các nước trên thế giới bao gồm cả Bắc Mỹ, Châu Mỹ La Tinh,
TOLSEN là một thương hiệu nổi tiếng ở Châu Âu, các sản phẩm của TOLSEN được sử dụng rộng rãi tại các nước trên thế giới bao gồm cả Bắc Mỹ, Châu Mỹ La Tinh,
TOLSEN là một thương hiệu nổi tiếng ở Châu Âu, các sản phẩm của TOLSEN được sử dụng rộng rãi tại các nước trên thế giới bao gồm cả Bắc Mỹ, Châu Mỹ La Tinh,
TOLSEN là một thương hiệu nổi tiếng ở Châu Âu, các sản phẩm của TOLSEN được sử dụng rộng rãi tại các nước trên thế giới bao gồm cả Bắc Mỹ, Châu Mỹ La Tinh,
TOLSEN là một thương hiệu nổi tiếng ở Châu Âu, các sản phẩm của TOLSEN được sử dụng rộng rãi tại các nước trên thế giới bao gồm cả Bắc Mỹ, Châu Mỹ La Tinh,
TOLSEN là một thương hiệu nổi tiếng ở Châu Âu, các sản phẩm của TOLSEN được sử dụng rộng rãi tại các nước trên thế giới bao gồm cả Bắc Mỹ, Châu Mỹ La Tinh,
TOLSEN là một thương hiệu nổi tiếng ở Châu Âu, các sản phẩm của TOLSEN được sử dụng rộng rãi tại các nước trên thế giới bao gồm cả Bắc Mỹ, Châu Mỹ La Tinh,
TOLSEN là một thương hiệu nổi tiếng ở Châu Âu, các sản phẩm của TOLSEN được sử dụng rộng rãi tại các nước trên thế giới bao gồm cả Bắc Mỹ, Châu Mỹ La Tinh,
TOLSEN là một thương hiệu nổi tiếng ở Châu Âu, các sản phẩm của TOLSEN được sử dụng rộng rãi tại các nước trên thế giới bao gồm cả Bắc Mỹ, Châu Mỹ La Tinh,
TOLSEN là một thương hiệu nổi tiếng ở Châu Âu, các sản phẩm của TOLSEN được sử dụng rộng rãi tại các nước trên thế giới bao gồm cả Bắc Mỹ, Châu Mỹ La Tinh,
TOLSEN là một thương hiệu nổi tiếng ở Châu Âu, các sản phẩm của TOLSEN được sử dụng rộng rãi tại các nước trên thế giới bao gồm cả Bắc Mỹ, Châu Mỹ La Tinh,
TOLSEN là một thương hiệu nổi tiếng ở Châu Âu, các sản phẩm của TOLSEN được sử dụng rộng rãi tại các nước trên thế giới bao gồm cả Bắc Mỹ, Châu Mỹ La Tinh,
TOLSEN là một thương hiệu nổi tiếng ở Châu Âu, các sản phẩm của TOLSEN được sử dụng rộng rãi tại các nước trên thế giới bao gồm cả Bắc Mỹ, Châu Mỹ La Tinh,
TOLSEN là một thương hiệu nổi tiếng ở Châu Âu, các sản phẩm của TOLSEN được sử dụng rộng rãi tại các nước trên thế giới bao gồm cả Bắc Mỹ, Châu Mỹ La Tinh,
TOLSEN là một thương hiệu nổi tiếng ở Châu Âu, các sản phẩm của TOLSEN được sử dụng rộng rãi tại các nước trên thế giới bao gồm cả Bắc Mỹ, Châu Mỹ La Tinh,
TOLSEN là một thương hiệu nổi tiếng ở Châu Âu, các sản phẩm của TOLSEN được sử dụng rộng rãi tại các nước trên thế giới bao gồm cả Bắc Mỹ, Châu Mỹ La Tinh,
TOLSEN là một thương hiệu nổi tiếng ở Châu Âu, các sản phẩm của TOLSEN được sử dụng rộng rãi tại các nước trên thế giới bao gồm cả Bắc Mỹ, Châu Mỹ La Tinh,
TOLSEN là một thương hiệu nổi tiếng ở Châu Âu, các sản phẩm của TOLSEN được sử dụng rộng rãi tại các nước trên thế giới bao gồm cả Bắc Mỹ, Châu Mỹ La Tinh,
TOLSEN là một thương hiệu nổi tiếng ở Châu Âu, các sản phẩm của TOLSEN được sử dụng rộng rãi tại các nước trên thế giới bao gồm cả Bắc Mỹ, Châu Mỹ La Tinh,
Ingco là thương hiệu lớn chuyên sản xuất mặt hàng công cụ dụng cụ dành cho thợ xây dựng, thợ cơ khí. Trong đó mặt hàng máy khoan Ingco là dòng sản phẩm rất được
Ingco là thương hiệu lớn chuyên sản xuất mặt hàng công cụ dụng cụ dành cho thợ xây dựng, thợ cơ khí. Trong đó mặt hàng máy khoan Ingco là dòng sản phẩm rất được
Búa Gò Cán Gỗ Tolsen 25121 (32cm) với phần đầu búa làm bằng thép hợp kim cao cấp nên sở hữu độ rắn chắc tuyệt đối, chịu nhiệt tốt và có khả năng chống chịu
Chi Tiết Kỹ Thuật: · Kìm Cờ lê, thay thế toàn bộ Bộ cờ lê đơn truyền thống · Khả năng truyền lực kẹp 10: 1 (1 lực tay, 10 lần lực kẹp) · 25
Mã sản phẩm: HMH880100 - Thương hiệu: INGCO - Xuất xứ: Trung Quốc - Chịu nhiệt - Thép carbon 45# - Đầu búa nặng: 100 g - 48/T
Mã sản phẩm: HDBM01028 - Trọng lượng: 2LB, bề mặt nhựa không dính , không tạo lửa - Đóng gói bằng thẻ treo - Trọng lượng: 1kg
Cờ lê vòng đóng 27 mm Ega Master 60882 - Độ mở: 27 mm - Chiều dài cờ lê: 175 mm - Trọng lượng: 300 gram - Đạt tiêu chuẩn DIN 7444 - Cờ lê
TOLSEN là một thương hiệu nổi tiếng ở Châu Âu, các sản phẩm của TOLSEN được sử dụng rộng rãi tại các nước trên thế giới bao gồm cả Bắc Mỹ, Châu Mỹ La Tinh,
TOLSEN là một thương hiệu nổi tiếng ở Châu Âu, các sản phẩm của TOLSEN được sử dụng rộng rãi tại các nước trên thế giới bao gồm cả Bắc Mỹ, Châu Mỹ La Tinh,
TOLSEN là một thương hiệu nổi tiếng ở Châu Âu, các sản phẩm của TOLSEN được sử dụng rộng rãi tại các nước trên thế giới bao gồm cả Bắc Mỹ, Châu Mỹ La Tinh,
TOLSEN là một thương hiệu nổi tiếng ở Châu Âu, các sản phẩm của TOLSEN được sử dụng rộng rãi tại các nước trên thế giới bao gồm cả Bắc Mỹ, Châu Mỹ La Tinh,
TOLSEN là một thương hiệu nổi tiếng ở Châu Âu, các sản phẩm của TOLSEN được sử dụng rộng rãi tại các nước trên thế giới bao gồm cả Bắc Mỹ, Châu Mỹ La Tinh,
TOLSEN là một thương hiệu nổi tiếng ở Châu Âu, các sản phẩm của TOLSEN được sử dụng rộng rãi tại các nước trên thế giới bao gồm cả Bắc Mỹ, Châu Mỹ La Tinh,
👁️ 12456 | ⌚2025-09-17 11:16:07.257


Dụng cụ hỗ trợ đóng đinh bê tông liên hoàn kèm 400 đinh ST18 (Có nút ấn tự nhả đầu búa-Loại tốt) Dụng cụ hỗ trợ đóng đinh bê tông liên hoàn được thiết kế
Giới thiệu Bộ cờ lê vòng miệng 8 chi tiết 8mm - 19mm đa năng Michelin DS001 Bộ cờ lê vòng miệng 8 chi tiết 8mm - 19mm đa năng Michelin DS001 là bộ cờ lê
UY TÍN - CHẤT LƯỢNG - GIÁ RẺ ĐẢM BẢO CHẤT LƯỢNG TỐT NHẤT ĐẾN TAY NGƯỜI DÙNG Cờ lê mỏ lết chuyên dụng vặn dây cấp vặn vừa tất cả các ốc dây cấp
UY TÍN - CHẤT LƯỢNG - GIÁ RẺ ĐẢM BẢO CHẤT LƯỢNG TỐT NHẤT ĐẾN TAY NGƯỜI DÙNG Cờ lê mỏ lết chuyên dụng vặn dây cấp vặn vừa tất cả các ốc dây cấp
*** Hãy nhấn theo dõi . yêu thích và đánh giá sản phẩm của shop bạn sẽ nhận được mã giảm giá SHOP CHUYÊN BÁN BUÔN SỈ , LẺ TOÀN QUỐC ✓ HÀNG THẬT NHƯ
- Trọng lượng: 8oz (226g) - Đầu búa giống đầu búa nhổ đinh 8oz - Đầu được đúc rèn nguyên khối - Kiểu dáng tay cầm Total
DUNG CỤ VẶN VÒI DÂY CẤP NƯỚC ĐA NĂNG PHIÊN BẢN 3 ĐẦU - MẪU MỚI 2020 + Chất liệu : Đầu vặn bằng hợp kim nhôm, thân nhựa cao cấp + Là Cờ lê
Mô tả: Chất lượng cao , hàng mới 100% Thiết kế khe mở cho phép dễ dàng thao tác trên các đường cung cấp hiện có. Hỗ trợ giữ đinh tán đứng yên tại chỗ
Thương hiệu đồ nghề và máy móc Total ngày càng khẳng định vị thế của mình trên thị trường, cạnh tranh thị phần với những nhãn hiệu có danh tiếng xưa giờ luôn. Total sẽ
Thương hiệu đồ nghề và máy móc Total ngày càng khẳng định vị thế của mình trên thị trường, cạnh tranh thị phần với những nhãn hiệu có danh tiếng xưa giờ luôn. Total sẽ
Thương hiệu đồ nghề và máy móc Total ngày càng khẳng định vị thế của mình trên thị trường, cạnh tranh thị phần với những nhãn hiệu có danh tiếng xưa giờ luôn. Total sẽ
Thương hiệu đồ nghề và máy móc Total ngày càng khẳng định vị thế của mình trên thị trường, cạnh tranh thị phần với những nhãn hiệu có danh tiếng xưa giờ luôn. Total sẽ
Thương hiệu đồ nghề và máy móc Total ngày càng khẳng định vị thế của mình trên thị trường, cạnh tranh thị phần với những nhãn hiệu có danh tiếng xưa giờ luôn. Total sẽ
Thương hiệu đồ nghề và máy móc Total ngày càng khẳng định vị thế của mình trên thị trường, cạnh tranh thị phần với những nhãn hiệu có danh tiếng xưa giờ luôn. Total sẽ
Thương hiệu đồ nghề và máy móc Total ngày càng khẳng định vị thế của mình trên thị trường, cạnh tranh thị phần với những nhãn hiệu có danh tiếng xưa giờ luôn. Total sẽ
Thương hiệu đồ nghề và máy móc Total ngày càng khẳng định vị thế của mình trên thị trường, cạnh tranh thị phần với những nhãn hiệu có danh tiếng xưa giờ luôn. Total sẽ
Thương hiệu đồ nghề và máy móc Total ngày càng khẳng định vị thế của mình trên thị trường, cạnh tranh thị phần với những nhãn hiệu có danh tiếng xưa giờ luôn. Total sẽ
Thương hiệu đồ nghề và máy móc Total ngày càng khẳng định vị thế của mình trên thị trường, cạnh tranh thị phần với những nhãn hiệu có danh tiếng xưa giờ luôn. Total sẽ
Total là thương hiệu có nguồn gốc từ Đức, nhà máy sản xuất được đặt tại Trung Quốc theo các tiêu chuẩn chất lượng của Mỹ, Châu Âu nên sản phẩm của Total vừa đảm
Total là thương hiệu có nguồn gốc từ Đức, nhà máy sản xuất được đặt tại Trung Quốc theo các tiêu chuẩn chất lượng của Mỹ, Châu Âu nên sản phẩm của Total vừa đảm
Thương hiệu đồ nghề và máy móc Total ngày càng khẳng định vị thế của mình trên thị trường, cạnh tranh thị phần với những nhãn hiệu có danh tiếng xưa giờ luôn. Total sẽ
Thương hiệu đồ nghề và máy móc Total ngày càng khẳng định vị thế của mình trên thị trường, cạnh tranh thị phần với những nhãn hiệu có danh tiếng xưa giờ luôn. Total sẽ
Thương hiệu đồ nghề và máy móc Total ngày càng khẳng định vị thế của mình trên thị trường, cạnh tranh thị phần với những nhãn hiệu có danh tiếng xưa giờ luôn. Total sẽ
Thương hiệu đồ nghề và máy móc Total ngày càng khẳng định vị thế của mình trên thị trường, cạnh tranh thị phần với những nhãn hiệu có danh tiếng xưa giờ luôn. Total sẽ
Thương hiệu đồ nghề và máy móc Total ngày càng khẳng định vị thế của mình trên thị trường, cạnh tranh thị phần với những nhãn hiệu có danh tiếng xưa giờ luôn. Total sẽ
Thương hiệu đồ nghề và máy móc Total ngày càng khẳng định vị thế của mình trên thị trường, cạnh tranh thị phần với những nhãn hiệu có danh tiếng xưa giờ luôn. Total sẽ
Thương hiệu đồ nghề và máy móc Total ngày càng khẳng định vị thế của mình trên thị trường, cạnh tranh thị phần với những nhãn hiệu có danh tiếng xưa giờ luôn. Total sẽ
Thương hiệu đồ nghề và máy móc Total ngày càng khẳng định vị thế của mình trên thị trường, cạnh tranh thị phần với những nhãn hiệu có danh tiếng xưa giờ luôn. Total sẽ
Cờ lê vòng đóng 60mm Ega Master 60891 Thiết kế dễ nhận biết với một đầu vòng, đầu chuôi dạng dẹt dùng để đóng với búa. Cờ lê siêu bền, chịu lực đóng lớn nhờ
Cờ lê vòng đóng 24 mm Ega Master 60881 - Kích thước: 24 mm - Chiều dài cờ lê: 165 mm - Trọng lượng: 0.2 Kg - Vật liệu: Thép đặc biệt - Độ cứng:
Cờ lê vòng đóng 32 mm Ega Master 60884 - Độ mở: 32 mm - Chiều dài cờ lê: 185 mm - Trọng lượng: 500 gram - Đạt tiêu chuẩn DIN 7444 - Cờ lê
Cờ lê vòng đóng 31 mm Ega Master 67320 - Độ mở: 31 mm - Chiều dài cờ lê: 185 mm - Trọng lượng: 500 gram - Đạt tiêu chuẩn DIN 7444 - Cờ lê
Cờ lê vòng đóng 42mm Ega Master 60887 Thiết kế dễ nhận biết với một đầu vòng, đầu chuôi dạng dẹt dùng để đóng với búa. Cờ lê siêu bền, chịu lực đóng lớn nhờ
Chi Tiết Kỹ Thuật: · Kìm Cờ lê, thay thế trọn bộ Bộ cờ lê đơn truyền thống · 13 điểm răng trượt, mở được ốc lục giác hệ mét và hệ inch dưới 35mm
Thương hiệu đồ nghề và máy móc Total ngày càng khẳng định vị thế của mình trên thị trường, cạnh tranh thị phần với những nhãn hiệu có danh tiếng xưa giờ luôn. Total sẽ
Thương hiệu đồ nghề và máy móc Total ngày càng khẳng định vị thế của mình trên thị trường, cạnh tranh thị phần với những nhãn hiệu có danh tiếng xưa giờ luôn. Total sẽ
Thương hiệu đồ nghề và máy móc Total ngày càng khẳng định vị thế của mình trên thị trường, cạnh tranh thị phần với những nhãn hiệu có danh tiếng xưa giờ luôn. Total sẽ
Mỏ lết 10''/250mm Stanley STMT87433-8 được ứng dụng trong việc tháo, lắp, sửa chữa mọi vật dụng, máy móc. Với chốt vặn điều chỉnh để có thể nới độ rộng, hẹp tùy theo kích cỡ
Thương hiệu đồ nghề và máy móc Total ngày càng khẳng định vị thế của mình trên thị trường, cạnh tranh thị phần với những nhãn hiệu có danh tiếng xưa giờ luôn. Total sẽ
Thương hiệu đồ nghề và máy móc Total ngày càng khẳng định vị thế của mình trên thị trường, cạnh tranh thị phần với những nhãn hiệu có danh tiếng xưa giờ luôn. Total sẽ
Thương hiệu đồ nghề và máy móc Total ngày càng khẳng định vị thế của mình trên thị trường, cạnh tranh thị phần với những nhãn hiệu có danh tiếng xưa giờ luôn. Total sẽ
Thương hiệu đồ nghề và máy móc Total ngày càng khẳng định vị thế của mình trên thị trường, cạnh tranh thị phần với những nhãn hiệu có danh tiếng xưa giờ luôn. Total sẽ
Thương hiệu đồ nghề và máy móc Total ngày càng khẳng định vị thế của mình trên thị trường, cạnh tranh thị phần với những nhãn hiệu có danh tiếng xưa giờ luôn. Total sẽ
Thương hiệu đồ nghề và máy móc Total ngày càng khẳng định vị thế của mình trên thị trường, cạnh tranh thị phần với những nhãn hiệu có danh tiếng xưa giờ luôn. Total sẽ
Thương hiệu đồ nghề và máy móc Total ngày càng khẳng định vị thế của mình trên thị trường, cạnh tranh thị phần với những nhãn hiệu có danh tiếng xưa giờ luôn. Total sẽ